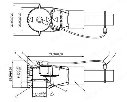
● Rated Voltage: 630V AC
● RatedCurrent: 125A MAX
● IPRating: IP67(Mated )/ IPXXD
● Wire Gauge: 25mm² Max
● Recommended Screw&Torque: M6*1.0 @8.0N.m
● Nopre-installed screws
● Supplied with wires only

Advantages:
• High performance
• Cost-efficiency
• High protection: Rotary locking protective cap; The bottom of the product and the device side are mated to achieve waterproofing
● Supplied with wires only
